Здравствуйте, гость ( Вход | Регистрация )

43 страниц V  « < 13 14 15 16 17 > »   
Ответить в данную темуНачать новую тему
`Эфиродинамика` и другие `альтернативные` теории
naivny2010
сообщение 3.11.2011, 11:48
Сообщение #281


Активный участник
***

Группа: Пользователи
Сообщений: 346
Регистрация: 28.4.2011
Пользователь №: 4218



Я опускаю тот факт, что вы не желаете слышать характеристики лично вас, но при этом сами каждый раз стараетесь меня "охарактеризовать". Сосредоточим внимание на конструктиве.

В ходе дискуссии выявилось следующее. Очевидно, что мы по-разному извлекаем и обрабатываем информацию из различных источников. А также по-разному передаем информацию с помощью различных языковых средств. И для взаимопонимания нам необходимо согласовать базовые положения. Только после этого дискуссия приобретет конструктивный вид.

Итак, начнем. Первый вопрос является основополагающим и от ответов на него зависит все остальное.

Кому и для чего нужна наука вообще?
Перейти в начало страницы
 
+Цитировать сообщение
inflaton
сообщение 3.11.2011, 20:48
Сообщение #282


Активный участник
***

Группа: Пользователи
Сообщений: 638
Регистрация: 1.12.2010
Из: Казань, Лондон
Пользователь №: 2260



Цитата(naivny2010 @ 3.11.2011, 11:48) *

Простите, как-то не могу найти то место, где вы доказали, что я безграмотен в вопросах физики и математики. Не ткнете ли носом меня?


Давайте сначала ваш вариант, для чего нужна наука. Мы не на экзамене.

Сообщение отредактировал inflaton - 3.11.2011, 20:53
Перейти в начало страницы
 
+Цитировать сообщение
Revkom 2
сообщение 3.11.2011, 21:50
Сообщение #283


Участник
**

Группа: Пользователи
Сообщений: 50
Регистрация: 2.11.2011
Пользователь №: 5438



Я это сообщение всунул похоже не в ту тему...вроде бы здесь самое место...проверим...

Мне представляется, что ответ на эти вопросы (вечные вопросы человечества) давно лежат перед нашим носом... (древние ребята, кажется это понимали)...
Итак:
- есть закон сохранения энергии (ничто не может возникнут в нашем мире из ничего и ничто не может исчезнут в никуда..) или из БИБЛИИ (ни один волос не упадёт без воли ЕГО..)
- есть закон всемирного тяготения описаный элементарной функцией -сила притяжения двух тел прямо пропорциональна произведению их масс и обратно пропорциональна расстоянию между ними (упрощённо для понимания)..следовательно изменив любую составляющую этой функции, ОДНОВРЕМЕННО изменяется её результат (сиречь сила притяжения).
-промежуточный вывод из этих двух посылок - эта функция ни что иное как причинно-следственная связь в материальном мире, обеспечивающая само существование этого материального мира.
- предварительное рассуждение (логическое построение силлогизма) - для ОДНОВРЕМЕННОГО изменения результата взаимного притяжения двух тел нет ограничения по "скорости" или времени ибо расстояние между телами не имеет никакого значения -функция, её результат (сила притяжения) изменится СРАЗУ как только изменится расстояние -ну нет в этой функции времени....
Теперь разберёмся с нами, людьми, -мы же часть этого материального мира и все события (изменения энергии, масс, расстояний между материальными телами нашей Вселенной )так или иначе отражаются и на наших материальных телах, причём абсолютно синхронно и ОДНОВРЕМЕННО!
Вся наша Вселенная ГОЛОГРАФИЧНА по своей сути, в каждой её частичке отражаются все события (изменения) происходящие в этой Вселенной...
Перейти в начало страницы
 
+Цитировать сообщение
spirit
сообщение 3.11.2011, 22:36
Сообщение #284


Активный участник
***

Группа: Актив
Сообщений: 597
Регистрация: 30.4.2009
Из: Санкт-Петербург
Пользователь №: 1487



Уважаемые inflaton и konb тут http://eutg.net/ru/article/3077
что мы можем сказать про генератор Росси?
Перейти в начало страницы
 
+Цитировать сообщение
naivny2010
сообщение 3.11.2011, 22:48
Сообщение #285


Активный участник
***

Группа: Пользователи
Сообщений: 346
Регистрация: 28.4.2011
Пользователь №: 4218



Цитата(inflaton @ 3.11.2011, 20:48) *
Давайте сначала ваш вариант, для чего нужна наука. Мы не на экзамене.

А что так? Неожиданная постановка вопроса? Бывает. Но вы что-то говорили про "слабо". Понимаю, погорячились.

Хорошо, я начну, а вы продолжите. Отвечаю на первую часть вопроса, которую вы не заметили.

Кому нужна наука?

Варианты ответов.
1. Никому.
2. Отдельным людям.
3. Группам людей.
4. Каждому человеку, то есть всем.

Ответ на вторую часть вопроса за вами.
Перейти в начало страницы
 
+Цитировать сообщение
inflaton
сообщение 3.11.2011, 23:46
Сообщение #286


Активный участник
***

Группа: Пользователи
Сообщений: 638
Регистрация: 1.12.2010
Из: Казань, Лондон
Пользователь №: 2260



Цитата(naivny2010 @ 3.11.2011, 22:48) *
А что так?

Ну я уже не знаю "что так", что мы не на экзамене. Наверно, потому, что я уже закончил универ, а у вас нет соответствующего образования, чтобы преподавать физику.

Цитата(naivny2010 @ 3.11.2011, 22:48) *
Хорошо, я начну, а вы продолжите. Отвечаю на первую часть вопроса, которую вы не заметили.

Кому нужна наука?

Варианты ответов.
1. Никому.
2. Отдельным людям.
3. Группам людей.
4. Каждому человеку, то есть всем.

Ответ на вторую часть вопроса за вами.

Во-первых, это не вам решать, продолжу я или нет. Будете нести чушь опять, продолжать никто не будет.

А во-вторых, это теперь такая новая мода отвечать на вопрос четырьмя вариантами?

Ну так, когда вы будете доказывать, что я безграмотен в физике и математике? Или вы думаете, можно ляпнуть, а потом все забудут? Нет уж, либо доказывайте, либо признавайте обратное.

Можно еще сделать как RusMoroz, когда я его попросил доказать его утверждение о том, что я -- альтернативщик. Пропасть из ветки.

Сообщение отредактировал inflaton - 4.11.2011, 1:01
Перейти в начало страницы
 
+Цитировать сообщение
Revkom 2
сообщение 4.11.2011, 0:17
Сообщение #287


Участник
**

Группа: Пользователи
Сообщений: 50
Регистрация: 2.11.2011
Пользователь №: 5438



А у меня вобще только 8 классов школы рабочей молодёжи...и что ?
Мне вобще нельзя с вами тогда общаться ?
Перейти в начало страницы
 
+Цитировать сообщение
inflaton
сообщение 4.11.2011, 0:18
Сообщение #288


Активный участник
***

Группа: Пользователи
Сообщений: 638
Регистрация: 1.12.2010
Из: Казань, Лондон
Пользователь №: 2260



Цитата(spirit @ 3.11.2011, 22:36) *
Уважаемые inflaton и konb тут http://eutg.net/ru/article/3077
что мы можем сказать про генератор Росси?

Насколько я понимаю, ничего внятного по этому поводу пока сказать не представляется возможным. Объясню, почему.

У Росси очень плохая репутация мошенника. Его статью в arxiv.org отклонили (а это вообще бывает только с совсем уж бессмысленными статьями)

С другой стороны, на его демонстрацию приезжал президент шведского Общества ученых-скептиков Ханно Эссен и даже дал положительный отзыв. Но вместе с тем, Росси не позволяет производить измерения никому из сторонних наблюдателей.

Конструкция прибора не раскрывается полностью, но уже вроде бы ясно, что он не хитрит там с бензином. Ибо объем его камеры около 50 мл, а производимая энергия эквивалентна сжиганию 25 литров бензина. То есть, это может быть и не химическая реакция вообще.

Ну и наконец, моих знаний просто не хватает, чтобы делать какие-то категорические заявления относительно этого устройства. Казалось бы, для синтеза нужно преодолеть кулоновский барьер, для чего и греют плазму до миллионов градусов. Но у него там устройство уж больно хитрое.

Так как я не специалист в этой области, жду какого-то обзора по этому поводу от людей, разбирающихся в вопросе.
Перейти в начало страницы
 
+Цитировать сообщение
inflaton
сообщение 4.11.2011, 0:23
Сообщение #289


Активный участник
***

Группа: Пользователи
Сообщений: 638
Регистрация: 1.12.2010
Из: Казань, Лондон
Пользователь №: 2260



Цитата(Revkom 2 @ 4.11.2011, 0:17) *
А у меня вобще только 8 классов школы рабочей молодёжи...и что ?
Мне вобще нельзя с вами тогда общаться ?

А вы вот не вникли в суть дискуссии, а уже оскорбляетесь. Почем зря. Там же написано, что naivny2010 не может устраивать мне экзамен. По очевидным причинам.

На самом деле, устраивать тут экзамен -- вообще довольно глупая затея. Но когда человек начинает усердно опровергать современные физические теории, логично у него спросить, знает ли он их вообще. Нет?
Перейти в начало страницы
 
+Цитировать сообщение
inflaton
сообщение 4.11.2011, 0:31
Сообщение #290


Активный участник
***

Группа: Пользователи
Сообщений: 638
Регистрация: 1.12.2010
Из: Казань, Лондон
Пользователь №: 2260



Цитата(Revkom 2 @ 3.11.2011, 21:50) *
- предварительное рассуждение (логическое построение силлогизма) - для ОДНОВРЕМЕННОГО изменения результата взаимного притяжения двух тел нет ограничения по "скорости" или времени ибо расстояние между телами не имеет никакого значения -функция, её результат (сила притяжения) изменится СРАЗУ как только изменится расстояние -ну нет в этой функции времени....

Вы совершенно правильно заметили, что в ньютоновской формуле для гравитационного притяжения времени нет. И действительно, в ньютоновской механике силы действуют мгновенно. Это называется дальнодействие.

Но вот беда в том, что на самом деле это не так. Это только приближенное описание. Первой полевой теорией взаимодействия была электродинамика Максвелла. Там не было дальнодействия. Было электромагнитное поле -- переносчик этого взаимодействия.

Потом придумали ОТО, появились теории слабых и сильных взаимодействий. Все эти теории являются полевыми. Дальнодействия в них нет.

И я бы вас очень сильно попросил, если вы не знакомы с этим, то не отвергать это все сразу. Поскольку, например, конечность скорости света обнаружена на опыте. А представление о том, что она -- максимальна, пока еще не опровергнуто.


Цитата(Revkom 2 @ 3.11.2011, 21:50) *
Вся наша Вселенная ГОЛОГРАФИЧНА по своей сути, в каждой её частичке отражаются все события (изменения) происходящие в этой Вселенной...

Да. Вы тут тоже уловили некую суть. В принципе, для того, чтобы каждая частичка чувствовала другую, необязательно дальнодействие. Они и так прекрасно чувствуют. Правда, с запаздыванием.
Но я бы не стал называть это голографией. Ведь голография -- это когда нечто трехмерное запечатлевается на двумерном носителе. То есть, трехмерная информация как-то хитро записывается в двух измерениях.
Интересно, что есть такая теория в физике: голографическая дуальность (по ссылке мало что есть, можно попробовать поискать по ключевым словам). Вкратце суть в том, что некая теория в размерности 5, например, эквивалентна теории в размерности 4. Чем не голография?

Вы знаете, на самом деле наука гораздо интереснее самого безумного вымысла любого альтернативщика. Надо только знать, где прочитать.


Сообщение отредактировал inflaton - 4.11.2011, 0:50
Перейти в начало страницы
 
+Цитировать сообщение
Владимир Абрамов
сообщение 4.11.2011, 0:36
Сообщение #291


Участник
**

Группа: Пользователи
Сообщений: 58
Регистрация: 18.8.2011
Пользователь №: 5034



Речь не о том, что можно делать с 8ю классами школы рабмолодёжи, а в том, что делать не должно.

Не должно рассуждать о неких глобальных проблемах, не владея методологией, инструментарием, понятийным аппаратом, и даже смутно представляя что это за проблемы.

Не должно всё время апеллировать к ангажированности учёных - даже если Бурдье был прав на 120%, это ещё не означает, что все, кто хочет причаститься символьной власти и говорить от лица науки помимо этих учёных, стоят чего-то большего, чем ничто.

Не должно ссылаться на сожжёного Джордано Бруно (и дело даже не в справедливости этого действа), потому что на одного мессира Бруно добрая инквизиция сожгла сотню-другую сельских мракобесов с очень смелыми, но совершенно безосновательными идеями. И оных, конечно, жалко.

И, наконец, не должно подтверждать мысли шарлатанов ссылками на самих шарлатанов. Как-то так.

Сообщение отредактировал Владимир Абрамов - 4.11.2011, 0:43


--------------------
sic semper tyrannis
Перейти в начало страницы
 
+Цитировать сообщение
Revkom 2
сообщение 4.11.2011, 0:43
Сообщение #292


Участник
**

Группа: Пользователи
Сообщений: 50
Регистрация: 2.11.2011
Пользователь №: 5438



Цитата(inflaton @ 4.11.2011, 0:31) *
Вы совершенно правильно заметили, что в ньютоновской формуле для гравитационного притяжения времени нет. И действительно, в ньютоновской механике силы действуют мгновенно. Это называется дальнодействие.

Но вот беда в том, что на самом деле это не так. Это только приближенное описание. Первой полевой теорией взаимодействия была электродинамика Максвелла. Там не было дальнодействия. Было электромагнитное поле -- переносчик этого взаимодействия.

Потом придумали ОТО, появились теории слабых и сильных взаимодействий. Все эти теории являются полевыми. Дальнодействия в них нет.

И я бы вас очень сильно попросил, если вы не знакомы с этим, то не отвергать это все сразу. Поскольку, например, конечность скорости света обнаружена на опыте. А представление о том, что она -- максимальна, пока еще не опровергнуто.


Упаси меня Господь, чтобы я опровергал конечность скорости света...вот только какое отношение скорость света имеет к гравитационному взаимодействию я не могу понять...мне кажется, вы уж простите работягу с неполным среднем образованием, но мне кажется что гравитация это свойство массы материального тела, а свойство не может по определению, быть самостоятельной физической сущностью...
Кстати, в физике по Пёрышкину практически все (весьма многие) физические величины, понятия, термины не имеют физической сущности..например :
масса,
вес,
сила,
Энергия,
мощность,
работа ..
ускорение..
и многие другие которые ни что иное как обычные математические функции
Так что же изучает наука физика, какие физические сущности, имеющие быть самостоятельными в нашем материальном мире... ?

Сообщение отредактировал Revkom 2 - 4.11.2011, 1:03
Перейти в начало страницы
 
+Цитировать сообщение
inflaton
сообщение 4.11.2011, 1:00
Сообщение #293


Активный участник
***

Группа: Пользователи
Сообщений: 638
Регистрация: 1.12.2010
Из: Казань, Лондон
Пользователь №: 2260



Цитата(Revkom 2 @ 4.11.2011, 0:43) *
Упаси меня Господь, чтобы я опровергал конечность скорости света...вот только какое отношение скорость света имеет к гравитационному взаимодействию я не могу понять...мне кажется, вы уж простите работягу с неполным среднем образованием, но мне кажется что гравитация это свойство массы материального тела, а свойство не может по определению, быть самостоятельной физической сущностью...
Кстати, в физике по Пёрышкину практически все (весьма многие) физические величины, понятия, термины не имеют физической сущности..например :
масса,
вес,
сила,
Энергия,
мощность,
работа ..
ускорение..
и многие другие которые ни что иное как обычные математические функции

Тут немного путаница. Попробую распутать.

Гравитация -- это взаимодействие. Масса -- это свойство объекта, как и заряд или спин. Она определяет способность объекта взаимодействовать с другими массивными объектами. Это взаимодействие мы называем гравитацией.

В такой трактовке гравитация -- это не более чем способность объекта делать что-то. Но мы начинаем (в начале 20 века) жить в эпоху представления о близкодействии. И теперь уже нельзя сказать, что объект просто вот действует на другой. Нужен третий объект -- переносчик. Это будет гравитационное поле.

Можно представить себе два мячика на воде. Если один потыкать, то он будет действовать на второй за счет волн, которые по поверхности распространяются. Это аналог полевой теории взаимодействия. Всегда есть какая-то среда-переносчик.

Перышкин -- это школьный учебник, там многое упрощенно подается. Но это все-таки не просто математические функции. Вот работа, например. Вполне физическая величина. Ее даже можно почувствовать, подняв рояль на 11 этаж. Энергия -- это способность тела совершать работу. То есть, это некая характеристика объекта в данный момент.

Но я не до конца понимаю, что вы имеете в виду под физической сущностью.

Сообщение отредактировал inflaton - 4.11.2011, 1:01
Перейти в начало страницы
 
+Цитировать сообщение
Revkom 2
сообщение 4.11.2011, 1:14
Сообщение #294


Участник
**

Группа: Пользователи
Сообщений: 50
Регистрация: 2.11.2011
Пользователь №: 5438



Цитата(inflaton @ 4.11.2011, 1:00) *
Тут немного путаница. Попробую распутать.

Гравитация -- это взаимодействие. Масса -- это свойство объекта, как и заряд или спин. Она определяет способность объекта взаимодействовать с другими массивными объектами. Это взаимодействие мы называем гравитацией.

В такой трактовке гравитация -- это не более чем способность объекта делать что-то. Но мы начинаем (в начале 20 века) жить в эпоху представления о близкодействии. И теперь уже нельзя сказать, что объект просто вот действует на другой. Нужен третий объект -- переносчик. Это будет гравитационное поле.

Можно представить себе два мячика на воде. Если один потыкать, то он будет действовать на второй за счет волн, которые по поверхности распространяются. Это аналог полевой теории взаимодействия. Всегда есть какая-то среда-переносчик.

Перышкин -- это школьный учебник, там многое упрощенно подается. Но это все-таки не просто математические функции. Вот работа, например. Вполне физическая величина. Ее даже можно почувствовать, подняв рояль на 11 этаж. Энергия -- это способность тела совершать работу. То есть, это некая характеристика объекта в данный момент.

Но я не до конца понимаю, что вы имеете в виду под физической сущностью.


Да, это я заметил...когда вы стали говорить о "поле"..вот уж что действительно трудно отнести к самостоятельной физической сущности...
Давайте попробуем вместе разобраться...Вот есть конкретное тело вещества -трудно отрицать что оно является материальной сущностью, правда ?
Но у этой сущности есть куча свойств, которые сами не являясь материальной сущностью, принадлежат только этому телу и описывая взаимодействия тел мы по мере необходимости сравниваем , подсчитываем, приписываем эти свойства для определения (предсказывания) результатов взаимодействия этих материальных тел...вплоть до элементарных частиц в ускорителях...я правильно излагаю ? Вы согласны ?
Отдельно про РАБОТУ -работа как и ЭНЕРГИЯ не является самостоятельной физической сущностью, которая может существовать самостоятельно (в отрыве от материального тела)...ибо опять же есть ни что иное как функция математическая... Кстати, гравитация -это не взаимодействие, это свойство -покажите пример любой массы не имеющей гравитации и мы быстро закроем эту тему...(заливистый старческий кашель..)

Сообщение отредактировал Revkom 2 - 4.11.2011, 1:17
Перейти в начало страницы
 
+Цитировать сообщение
inflaton
сообщение 4.11.2011, 1:24
Сообщение #295


Активный участник
***

Группа: Пользователи
Сообщений: 638
Регистрация: 1.12.2010
Из: Казань, Лондон
Пользователь №: 2260



Еще по поводу Росси. Вот из комментария Владимира Высоцкого внизу статьи:
"Там все не так просто. Это не жульничество, но, с другой стороны, есть очень большая проблема из-за отсутствия (точнее, предельной малости) в природном никеле изотопов, призванных дать стабильные изотопы меди, о которых Росси все время говорит. Должен быть очень сильный радиационный фон, а его практически нет: мои знакомые во время презентации тайно пытались провести измерения, но фон оказался практически природным. И это главное препятствие для принятия результатов."
Перейти в начало страницы
 
+Цитировать сообщение
Revkom 2
сообщение 4.11.2011, 1:26
Сообщение #296


Участник
**

Группа: Пользователи
Сообщений: 50
Регистрация: 2.11.2011
Пользователь №: 5438



Трудно искать чёрную кошку в тёмной комнате...особенно когда её там нет.
Перейти в начало страницы
 
+Цитировать сообщение
inflaton
сообщение 4.11.2011, 1:32
Сообщение #297


Активный участник
***

Группа: Пользователи
Сообщений: 638
Регистрация: 1.12.2010
Из: Казань, Лондон
Пользователь №: 2260



Цитата(Revkom 2 @ 4.11.2011, 1:14) *
Да, это я заметил...когда вы стали говорить о "поле"..вот уж что действительно трудно отнести к самостоятельной физической сущности...
Давайте попробуем вместе разобраться...Вот есть конкретное тело вещества -трудно отрицать что оно является материальной сущностью, правда ?
Но у этой сущности есть куча свойств, которые сами не являясь материальной сущностью, принадлежат только этому телу и описывая взаимодействия тел мы по мере необходимости сравниваем , подсчитываем, приписываем эти свойства для определения (предсказывания) результатов взаимодействия этих материальных тел...вплоть до элементарных частиц в ускорителях...я правильно излагаю ? Вы согласны ?
Отдельно про РАБОТУ -работа как и ЭНЕРГИЯ не является самостоятельной физической сущностью, которая может существовать самостоятельно (в отрыве от материального тела)...ибо опять же есть ни что иное как функция математическая... Кстати, гравитация -это не взаимодействие, это свойство -покажите пример любой массы не имеющей гравитации и мы быстро закроем эту тему...(заливистый старческий кашель..)

А если я вам дам пример частицы с нулевой массой, которая взаимодействует с гравитацией? Это фотон.

Да и вообще, что такое по вашему фотон? Это материальная сущность или нет? С одной стороны фотон -- это переносчик электромагнитного взаимодействия. А с другой, вроде как частица.

Или W-бозон, например. Это переносчик слабого взаимодействия. У него даже масса есть, в отличие от фотона. И он в 80 раз тяжелее протона.
Перейти в начало страницы
 
+Цитировать сообщение
Revkom 2
сообщение 4.11.2011, 1:37
Сообщение #298


Участник
**

Группа: Пользователи
Сообщений: 50
Регистрация: 2.11.2011
Пользователь №: 5438



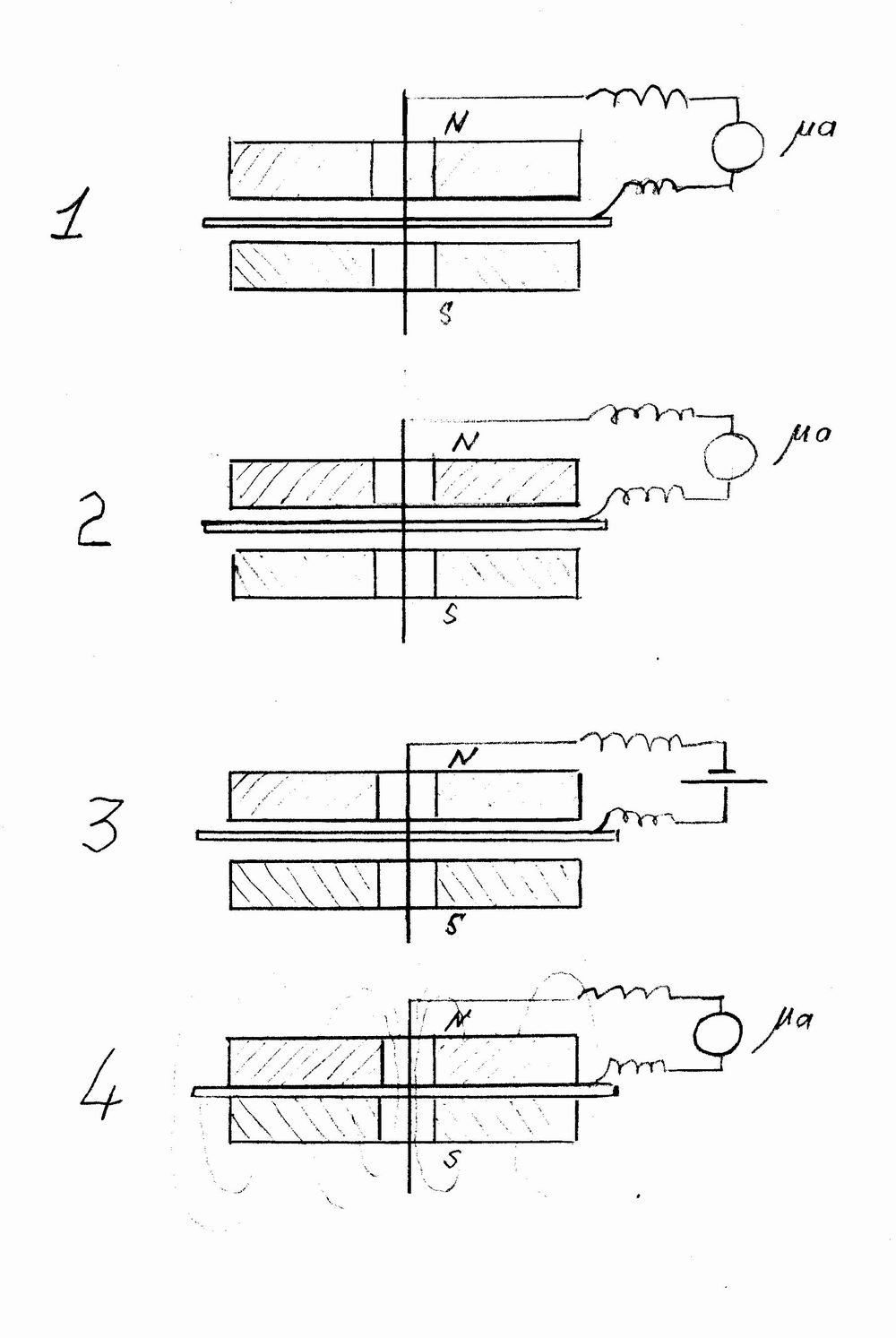
http://www.kurginyan.ru/board/style_images.../attach_add.png

Предлагаю объяснить опыт...
Ток на микроамперметре появляется при вращении медного диска между двумя неподвижными магнитами -рис 1
точно такой же ток появляется при вращении всей системы -медного диска вместе с магнитами рис 4
В случае вращения магнитов относительно неподвижного медного диска тока нет рис 2
При подаче тока на медный диск при неподвижных магнитах вращения диска нет рис 3


Эскизы прикрепленных изображений
Прикрепленное изображение
 
Перейти в начало страницы
 
+Цитировать сообщение
Revkom 2
сообщение 4.11.2011, 1:42
Сообщение #299


Участник
**

Группа: Пользователи
Сообщений: 50
Регистрация: 2.11.2011
Пользователь №: 5438



Цитата(inflaton @ 4.11.2011, 1:32) *
А если я вам дам пример частицы с нулевой массой, которая взаимодействует с гравитацией? Это фотон.

Да и вообще, что такое по вашему фотон? Это материальная сущность или нет? С одной стороны фотон -- это переносчик электромагнитного взаимодействия. А с другой, вроде как частица.

Или W-бозон, например. Это переносчик слабого взаимодействия. У него даже масса есть, в отличие от фотона. И он в 80 раз тяжелее протона.


Фотон не имеет МАССЫ ПОКОЯ, однако он и покоя не имеет ибо фотон существует только при скорости света....
Про бозон вы сами ответили...так что это есть материальные сущности ибо могут существовать самостоятельно в нашем мире, переносить импульс, воздействовать на материальные тела ...
И отделил Господь свет от тьмы...выделил сущность....

Сообщение отредактировал Revkom 2 - 4.11.2011, 1:46
Перейти в начало страницы
 
+Цитировать сообщение
inflaton
сообщение 4.11.2011, 1:55
Сообщение #300


Активный участник
***

Группа: Пользователи
Сообщений: 638
Регистрация: 1.12.2010
Из: Казань, Лондон
Пользователь №: 2260



Цитата(Revkom 2 @ 4.11.2011, 1:42) *
Фотон не имеет МАССЫ ПОКОЯ, однако он и покоя не имеет ибо фотон существует только при скорости света....
Про бозон вы сами ответили...так что это есть материальные сущности ибо могут существовать самостоятельно в нашем мире, переносить импульс, воздействовать на материальные тела ...
И отделил Господь свет от тьмы...выделил сущность....

Ну так и вы тогда ответили на свой вопрос. W-бозон -- переносчик взаимодействия. Ровно такой же, как гравитон (если он вообще существует). А это значит, что поле -- такая же материальная сущность, как носки под кроватью. Только носки дают о себе знать запахом, а гравитационное поле дает о себе знать тем, что тянет вас в земле (и к луне и солнцу немного, и совсем чуть-чуть к планетам).
Перейти в начало страницы
 
+Цитировать сообщение

43 страниц V  « < 13 14 15 16 17 > » 
Ответить в данную темуНачать новую тему

 



Текстовая версия Сейчас: 8.11.2025, 18:42