Здравствуйте, гость ( Вход | Регистрация )

2 страниц V   1 2 >  
Ответить в данную темуНачать новую тему
Введение в политэкономию
Евсеев Борис
сообщение 7.4.2009, 18:30
Сообщение #1


Активный участник
***

Группа: Пользователи
Сообщений: 80
Регистрация: 28.1.2009
Пользователь №: 1417



Письмо 1

Предисловие.

Предмет политической экономии.

ПОЛИТИЧЕСКАЯ ЭКОНОМИЯ - ЭТО НАУКА О ЗАКОНАХ РАЗУМНОГО УПРАВЛЕНИЯ ОБЩЕСТВЕННЫМ РАЗВИТИЕМ.

Другие законы изучаются в рамках других наук, поэтому в рамки предмета политической экономии попадают способы производства общественной жизни как единства цели общественного развития и формы общественных связей. Всё остальное рассматривается постольку, поскольку человеческое общество является частью природы в целом и взаимодействует с ней.

Капитал - центральное понятие политической экономии. С абстрактно общего определения капитала политическая экономия начинает и последовательно восходит к конкретно всеобщим определениям.

АБСТРАКТНО ОБЩИЕ ОПРЕДЕЛЕНИЯ КАПИТАЛА

Капитал - это самовозрастающий живой общественный организм. В предельно общем смысле капитал есть общественный организм, целесообразно и разумно воспроизводящий себя в расширенном масштабе.

КАПИТАЛ - это богатство (благо, ценность, стоимость, полезность, достояние и т.п.) используемое как средство производства еще большего богатства.

Капитал представляет собой общественно-полезное единство материальных и духовных факторов производства, где творческая сторона рабочей силы человека является системно образующим фактором.

С позиций современного естествознания все ресурсы природы, включая рабочую силу человека, можно рассматривать как обобщенные источники мощности. Взятые сами по себе, они есть стихийные силы природы (сокрытые вещи, сокровища, вещи сами по себе), но не капитал. Взятые в единстве с разумной рабочей силой человека и используемые для своего возрастания, они суть капитал.

Другими словами, мы можем определить капитал как единство всех природных ресурсов с разумной рабочей силой человека в процессе самовозрастания или как обобщенную мощность, направленную на производство еще большей мощности в общественно-полезной форме. Ценность обобщённой мощности как капитала определяется величиной и умением пользоваться, что в свою очередь зависит от количества знаний, уровня развития мышления и системы производственных отношений.

Капитал не есть фактор производства наряду с другими факторами производства. Капитал есть единство всех факторов производства в процессе самовозрастания в общественно-полезной форме.

ТРУД - это способ преобразования вещей самих по себе, то есть СОКРОВИЩ, в вещи для нас в общественно полезной форме, то есть в КАПИТАЛ.

Другими словами ТРУД ЕСТЬ ЖИЗНЬ КАПИТАЛА, способ его существования.

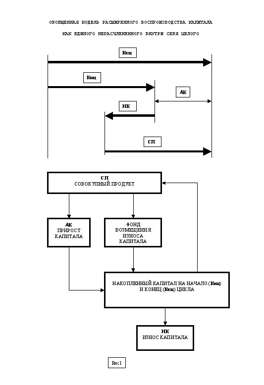
Наглядно процесс общественного воспроизводства капитала можно интерпретировать следующей геометрической иллюстрацией (см. рис.1)
Прикрепленное изображение
.[Анализируя процесс общественного воспроизводства капитала, выделяют:
1) процесс износа капитала, иначе это называют потреблением, который включает в себя износ накопленного капитала за предшествующий период и износ капитала вновь произведенного за последний расчетный период;
2) процесс производства капитала, который включает в себя создание фонда возмещения текущего производственного износа капитала и фонда процента на капитал.

Фонд процента на капитал образует фонд накопления.

Отношение фонда накопления к накопленному капиталу называется нормой накопления или просто процентом на капитал.

Из выше изложенного следует, что процент на капитал является интегральным показателем темпа общественного развития.

Стремясь максимизировать темпы общественного развития, мы попутно решаем задачу накопления знаний, развития мышления, оптимизации системы производственных отношений.

(Продолжение следует)
Перейти в начало страницы
 
+Цитировать сообщение
В.Олег
сообщение 8.4.2009, 19:49
Сообщение #2


Активный участник
***

Группа: Пользователи
Сообщений: 235
Регистрация: 15.12.2008
Пользователь №: 1391



Всем привет

Евсеев Борис:
"Капитал - центральное понятие политической экономии."
"Капитал - это самовозрастающий живой общественный организм"
Позвольте уважаемый коллега усомниться в справедливости этих посылов.
Во первых вы сами себе противоречите вначале объявили, что ПЭ это наука об обществе т.е. о человеке т.е. человек и отношения его в процессе производства, и тут же говорите, что главное это капитал а люди так песок вокруг самовозрастающего "ЕГО". Извиняюсь типа столба в пустыни который шарашит и шарашит в высь сам по себе.
По этому коллега я предлагаю всётаки определиться кто главный в этой науке человек или капитал!?
Только после этого можно двигаться дальше, т.е. надо разрешить противоречие.
С уважением Сергей Никулинский
Перейти в начало страницы
 
+Цитировать сообщение
Евсеев Борис
сообщение 13.4.2009, 9:51
Сообщение #3


Активный участник
***

Группа: Пользователи
Сообщений: 80
Регистрация: 28.1.2009
Пользователь №: 1417



Письмо 2

Поскольку процент на капитал является интегральным показателем темпа общественного развития, то имеет смысл рассмотреть тенденции его изменения в зависимости от величины q как функции научно-технического и общественного прогресса.

Дано: п = DК/К, где п - норма накопления или норма процента, DК - прирост капитала за расчетный период, К - накопленный капитал на начало расчётного периода.

К = (К + DК) / q, где q коэффициент морального износа накопленного капитала за расчетный период. Этот коэффициент всегда больше единицы при наличие научно-технического прогресса, поэтому данное уравнение верно.

Из выше изложенного следует п = DК/К = q - 1, поэтому норма накопления всегда больше нуля, если научно-технический прогресс имеет место.

Другими словами, когда способ производства - капиталистический.

Труд есть способ существования капитала, а в трудовом процессе деятельность по совершенствованию орудий и средств производства, производственных отношений и самой человеческой личности является главной, а репродуктивная деятельность по изготовлению готового из готового носит вспомогательный характер.

(Продолжение следует)
Перейти в начало страницы
 
+Цитировать сообщение
В.Олег
сообщение 13.4.2009, 19:23
Сообщение #4


Активный участник
***

Группа: Пользователи
Сообщений: 235
Регистрация: 15.12.2008
Пользователь №: 1391



Всем привет

Евсеев Борис

Извиняюсь вы не хотите отвечать конкретно мне или вы не знаете ответа коллега.
Так вы поясните и я вам не буду мешать.

С уважением Сергей Никулинский.
Перейти в начало страницы
 
+Цитировать сообщение
Евсеев Борис
сообщение 14.4.2009, 18:07
Сообщение #5


Активный участник
***

Группа: Пользователи
Сообщений: 80
Регистрация: 28.1.2009
Пользователь №: 1417



Письмо 3

Рассмотрим более подробно внутреннее строение капитала. Поскольку капитал представляет собой единство материи и духа, постоянной и переменной материи, постоянного и переменного духа, то его можно представить как единство четырёх основных факторов производства.

(См. рис. 2)
Прикрепленное изображение


Постоянный материальный фактор производства капитала - это земля.

Переменный материальный фактор производства - это формы, которые принимает земля.

Постоянный духовный фактор производства - это знания, информация.

Переменный духовный фактор производства - это мышление, способность осознавать и получать новые знания в рамках управления производственным процессом.

Каждый фактор производства капитала, взятый сам по себе не есть капитал.

Мышление является главным системно образующим капитал фактором производства, но равноценно по сравнению с другими факторами. Нет никаких оснований, чтобы предполагать иное.

(Продолжение следует)

Сообщение отредактировал Евсеев Борис - 10.9.2010, 1:25
Перейти в начало страницы
 
+Цитировать сообщение
Евсеев Борис
сообщение 17.4.2009, 18:08
Сообщение #6


Активный участник
***

Группа: Пользователи
Сообщений: 80
Регистрация: 28.1.2009
Пользователь №: 1417



Письмо 4

Поскольку человеческое общество в качестве капитала представляет собой единство связанных между собой производственных единиц, предприятий, то, используя категориальную пару общее-частное, можно выделить две качественно различные сферы производства: сферу обеспечения жизни и сферу частных хозяйств.

Как следует из названия, сфера обеспечения жизни отвечает за обеспечение сохранения жизни частных членов общества, их объединений и общества в целом. Все частные члены общества, их объединения и, общество в целом, решая свои частные проблемы, тем не менее, опираются на систему обеспечения жизни. Объединив всё вместе - мы получаем
ОБЪЁМНУЮ МОДЕЛЬ РАСШИРЕННОГО ВОСПРОИЗВОДСТВА КАПИТАЛА КАК ЕДИНСТВА ВСЕХ ОСНОВНЫХ ФАКТОРОВ ПРОИЗВОДСТВА, СФЕРЫ ЖИЗНЕОБЕСПЕЧЕНИЯ И СФЕРЫ ЧАСТНЫХ ХОЗЯЙСТВ.

См. рис. 3
Прикрепленное изображение

рис. 4
Прикрепленное изображение

рис. 5
Прикрепленное изображение


(Продолжение следует)

Сообщение отредактировал Евсеев Борис - 10.9.2010, 1:33
Перейти в начало страницы
 
+Цитировать сообщение
Евсеев Борис
сообщение 21.4.2009, 21:43
Сообщение #7


Активный участник
***

Группа: Пользователи
Сообщений: 80
Регистрация: 28.1.2009
Пользователь №: 1417



Письмо 5

Рассмотрим критерий уровня общественного исторического развития. С нашей точки зрения это критерий свободы. То есть общество развивается от состояния минимальной свободы к состоянию все большей свободы. Обратный процесс называется регрессом.

Однако необходимо разобраться с самим понятием индивидуальной и социальной свободы. Необходимо различать множество физических степеней свободы, которое включает в себя множество осознанных степеней свободы, которое включает в себя и множество осознанных нестандартных степеней свободы.

Только число степеней свободы осознанного выбора нестандартных действий может выражать действительный объем индивидуальной свободы, а с учетом ограничений на социальный произвол и социальный объем свободы в обществе. Величина свободы выражает величину такого фактора производства капитала как мышление.

Рассмотрим простейшую диаграмму см. рис. 6
Прикрепленное изображение


Ось ординат показывает число степеней свободы осознанного выбора нестандартных действий в тот или иной момент времени, а по оси абсцисс отложен единичный фонд социального времени за единичный отрезок астрономического времени.

Площадь плоской фигуры на диаграмме равна объему свободы. Эта площадь представляет собой сумму двух площадей, где одна площадь выражает объем свободы в условиях, когда творческая сторона деятельности на первом плане, а вторая площадь выражает объем свободы в условиях, когда репродуктивная сторона деятельности на первом плане.

Свободная деятельность есть необходимая деятельность для совершенствования средств производства, технологических процессов, самой разумной личности, системы производственных отношений и общества в целом. Творческая сторона деятельности тут на первом плане. Эта деятельность непосредственно необходима для развития и является трудом, в наибольшей степени соответствуя этому понятию.

Репродуктивная деятельность есть необходимая деятельность в рамках стандартных технологий, что позволяет производить соответствующее материальное обеспечение для всей жизни. Эта деятельность является трудом постольку, поскольку подчинена разумной цели производства условий для свободной деятельности. Более того, творческая сторона деятельности и в стандартных условиях имеет место, хотя бы и на заднем плане.

Классиками политической экономии отмечалось, что по мере исторического развития граница между свободной и репродуктивной деятельностью смещается в сторону увеличения доли свободной деятельности. Карл Маркс, на пример, исторический период, в течение которого доля свободной деятельности в социальном фонде времени увеличивается от нуля к единице, характеризовал как предысторию человечества. Истинная история человечества начинается по Марксу тогда, когда доля репродуктивной деятельности равна нулю. Это мнение разделял, в целом, Побиск Георгиевич Кузнецов.

С нашей точки зрения это не совсем точно. В какой оптимальной пропорции делится социальный фонд времени, зависит от максимизации темпов развития, то есть от объёма свободы, объёма творчества. Этот параметр изменяется от нуля к бесконечно большой величине. Никакого конца истории здесь не просматривается. Граница между рассматриваемыми двумя основными типами деятельности гуляет в обе стороны и сама по себе ни о чем не говорит.

(Продолжение следует)

Сообщение отредактировал Евсеев Борис - 10.9.2010, 1:36
Перейти в начало страницы
 
+Цитировать сообщение
Paix
сообщение 22.4.2009, 18:38
Сообщение #8


Активный участник
***

Группа: Актив
Сообщений: 1346
Регистрация: 27.11.2006
Из: Москва
Пользователь №: 60



"В.Олег: ПЭ... я предлагаю всётаки определиться кто главный в этой науке человек или капитал."

В.Олег, позвольте вклиниться в ваш с Борисом монолог. По Марксу ПЭ нужна для того, чтобы освободить человека от экономической зависимости и создать общество с творческим "новым человеком"... и без ПЭ. :-)


--------------------
Мы мирные люди...

Перейти в начало страницы
 
+Цитировать сообщение
Евсеев Борис
сообщение 29.4.2009, 11:36
Сообщение #9


Активный участник
***

Группа: Пользователи
Сообщений: 80
Регистрация: 28.1.2009
Пользователь №: 1417



Письмо 6

Выше мы рассмотрели процесс производства капитала, как единого не расчленённого внутри себя целого организма.

Но капитал представляет собой живой общественный организм, состоящий из сети предприятий, связанных выпуском и потреблением продукции, а также характеризующиеся скоростями износа и производства. Во главе каждого предприятия стоит субъект-предприниматель, то есть личность, которая принимает управленческие решения по управлению производственным процессом. Все личности любого органического строения от человеческого индивида до общества в целом связаны и вынуждены принимать управленческие решения в соответствии с правами собственности, которые имеют в настоящий момент и которые определяют форму отношений общественной связи.

Рассмотрим эти элементарные отношения между субъектами в чистом виде. Один тип отношений отличается от другого числом определенных специфических запретов на произвол по отношению к субъекту совместной деятельности.

ОТНОШЕНИЕ НЕПОСРЕДСТВЕННОГО ПРИСВОЕНИЯ – НОЛЬ ЗАПРЕТОВ НА ПРОИЗВОЛ. Субъект отношений непосредственно присваивает себе окружающую среду, превращая её в продолжение своего органического материального и духовного тела.

ОТНОШЕНИЯ ПОСТОЯННОЙ КРЕПОСТНОЙ ЗАВИСИМОСТИ.

ПЕРВАЯ ФОРМА – ОДИН ЗАПРЕТ НА ПРОИЗВОЛ. Жизнь, тело и способность к деятельности одного субъекта находится в собственности другого. Наложен запрет на все свободные действия крепостного, который является непосредственным продолжением личности крепостника.

ВТОРАЯ ФОРМА – ДВА ЗАПРЕТА НА ПРОИЗВОЛ. Дополнительно наложен запрет на право крепостника прекратить жизнь крепостного по своему произволу. У крепостника сохраняется право на прибавочный продукт, но появляется обязанность обеспечивать жизненный стандарт крепостному.

РАВНОПРАВНЫЕ ОТНОШЕНИЯ

ПЕРВАЯ ФОРМА – ТРИ ЗАПРЕТА НА ПРОИЗВОЛ, ОТНОШЕНИЕ ПЕРЕМЕННОЙ КРЕПОСТНОЙ ЗАВИСИМОСТИ. Дополнительно наложен запрет на постоянную крепостную зависимость одного субъекта совместной деятельности от другого. Практическая реализация предполагает право собственности на необходимый жизненный стандарт и его наличие для каждого участника отношения.

ВТОРАЯ ФОРМА – ЧЕТЫРЕ ЗАПРЕТА НА ПРОИЗВОЛ. Дополнительно наложен запрет на любой тип крепостной зависимости между субъектами. В рамках данного отношения субъекты совместной деятельности обмениваются результатами частной деятельности как объектами частной собственности добровольно с обеих сторон пропорционально их ценности – объект на объект равной ценности, или получают в свою частную собственность равный процент на равный капитал, вложенный в одно предприятие.

ТРЕТЬЯ ФОРМА, ВЫСШАЯ ФОРМА РАВНОПРАВНЫХ ОТНОШЕНИЙ, ОТНОШЕНИЕ СОЗНАТЕЛЬНОГО СОТРУДНИЧЕСТВА И ВЗАИМНОЙ ПОМОЩИ – ПЯТЬ ЗАПРЕТОВ НА ПРОИЗВОЛ. Это усовершенствованные равноправные отношения, где каждый субъект отношения накладывает дополнительно запрет на все свои действия по отношению к другому субъекту, которые могут тормозить его развитие.

В природе существует только шесть типов отношений. Отношение каждого типа имеет много превращенных форм своего проявления.

Системы отношений между многими субъектами строятся следующим образом:
· ПРОИЗВОДСТВЕННЫЙ УКЛАД характеризуется формой отношения ВНУТРИ производственной единицы;
· СПОСОБ ПРОИЗВОДСТВА характеризуется формой отношений МЕЖДУ производственными единицами – предприятиями.
· ОБЩЕСТВЕННАЯ ЭКОНОМИЧЕСКАЯ ФОРМАЦИЯ характеризуется формой отношения ГЛАВНОГО производственного уклада.
·
Таким образом, мы имеем:
· ШЕСТЬ ВОЗМОЖНЫХ РАЗЛИЧНЫХ ТИПОВ ЭЛЕМЕНТАРНЫХ ОТНОШЕНИЙ - по возможному числу запретов на произвол;
· ШЕСТЬ ПРОИЗВОДСТВЕННЫХ УКЛАДОВ - по возможному числу типов отношений внутри производственных единиц;
· только ТРИ СПОСОБА ПРОИЗВОДСТВА - по числу возможных отношений между производственными единицами, так как все разновидности крепостной зависимости могут реализовываться только внутри производственных единиц;
· ШЕСТЬ ОБЩЕСТВЕННЫХ ЭКОНОМИЧЕСКИХ ФОРМАЦИЙ - по числу возможных главных укладов в системе отношений.

По целям, которые ставятся в процессе производства общественной жизни можно выделить три основных типа целей:
1. НЕПОСРЕДСТВЕННОЕ ПРИСВОЕНИЕ;
2. ПРОИЗВОДСТВО КАПИТАЛА ДЛЯ ПРОИЗВОДСТВА КАПИТАЛА;
3. ПРОИЗВОДСТВО КАПИТАЛА ДЛЯ ПРОИЗВОДСТВА РАЗУМНЫХ ЛИЧНОСТЕЙ.

Всё выше изложенное можно свести в одну таблицу и назвать ЗАКОН СОБСТВЕННОСТИ, в соответствии с которым и разворачиваются все общественные процессы.

см. Рис7
Прикрепленное изображение


Имея перед глазами эту таблицу, мы можем без затруднений ответить на вопрос:
«Какое отношение, уклад, способ производства и общественная экономическая формация господствуют в мире или в отдельно взятом государстве?»

Ответ очевиден – это НЕПОСРЕДСТВЕННОЕ ПРИСВОЕНИЕ. Если уклад, основанный на непосредственном присвоении назвать первобытным, то мы имеем в качестве господствующих – первобытный уклад, первобытный способ производства и первобытную экономическую формацию! Главная цель – непосредственное присвоение природных и общественных богатств.

Мне скажут, что основные мировые религии выдвигают в качестве господствующей цели служение богу, а непосредственное присвоение занимает там последние места. Это верно отчасти, но при ближайшем рассмотрении оказывается не столь очевидным применительно к самому общественному производству и подданным. Главным отношением там провозглашается первая форма крепостной зависимости человека от бога, а все люди рабы бога. Оно и понятно: сделал шаг в сторону от непосредственного присвоения – сразу попадаешь в рабовладение, если баланс сил не сохраняется.

Правда, при наличии баланса сил можно добраться и до равноправных отношений и, даже, до сознательного сотрудничества в отдельных случаях. Но господствующую иерархию отношений в системе отношений это не меняет.

Если взять за главный нравственный императив идею развития каждой отдельной личности, общества и природы в целом, как это формулируется в рамках «КРАСНОЙ ИДЕИ», то в качестве цели и средства достижения цели мы получаем СОЗНАТЕЛЬНОЕ СОТРУДНИЧЕСТВО И ВЗАИМНУЮ ПОМОЩЬ на стратегическую перспективу в качестве главного отношения в иерархии системы отношений.

Общественные формы, взятые сами по себе ни хороши, ни плохи. Плоха или хороша система отношений с точки зрения высшего критерия – нравственного императива и критериев эффективности его реализации. (О критериях надо говорить отдельно. Мы предлагаем объём свободы как это изображено на рис6).
Прикрепленное изображение

Практическая реализация преобразования системы общественных отношений в соответствии с «красной идеей» потерпела неудачу, на мой взгляд, потому, что все частные рабочие критерии были сформулированы теоретически неверно! Принцип «КТО НЕ РАБОТАЕТ, ТОТ НЕ ЕСТ» есть принцип РАБОВЛАДЕНИЯ. Взяв этот принцип на вооружение, коммунисты-марксисты низвели нравственное содержание «КРАСНОЙ ИДЕИ» с космических высот сознательного сотрудничества и взаимной помощи в деле самосовершенствования и совершенствования всего и вся до нравственного уровня господствующих мировых религий, возможно, не желая этого. Ничего, кроме РАБОВЛАДЕНИЯ, опираясь на принцип «КТО НЕ РАБОТАЕТ, ТОТ НЕ ЕСТ» построить нельзя!

Теоретическим принципом выражения равноправия и коммунизма (гуманизма) в первой фазе является принцип: «РАВНЫЙ ПРОЦЕНТ НА РАВНЫЙ КАПИТАЛ». Это и является критерием вознаграждения за труд, опосредованный результатами производственной деятельности.

ПРИНЦИП ДУХОВНОГО НЕНАСИЛИЯ является теоретическим выражением СОЗНАТЕЛЬНОГО СОТРУДНИЧЕСТВА И ВЗАИМНОЙ ПОМОЩИ. Опираясь на этот принцип, можно постоянно совершенствовать всё и вся на основе достигнутого баланса сил, делая баланс сил всё более устойчивым и снимая напряженность противостояния по мере налаживания сознательного сотрудничества и взаимной помощи.

Принцип равенства и равноправия является теоретическим выражением баланса сил. Идя в сторону совершенствования данный принцип, преобразуется через осознание взаимной выгоды в сознательное сотрудничество, идя в обратном направлении, через равное воздаяние и нарушение баланса сил, происходит срыв в первобытность.

В заключение скажу, НАЛОГОВАЯ И КРЕДИТНАЯ СИСТЕМЫ есть превращённые формы НЕПОСРЕДСТВЕННОГО ПРИСВОЕНИЯ. Слово для обозначения переменной крепостной зависимости в научном языке отсутствует.

(Продолжение следует)

Сообщение отредактировал Евсеев Борис - 10.9.2010, 1:43
Перейти в начало страницы
 
+Цитировать сообщение
Евсеев Борис
сообщение 20.5.2009, 18:32
Сообщение #10


Активный участник
***

Группа: Пользователи
Сообщений: 80
Регистрация: 28.1.2009
Пользователь №: 1417



Письмо 7

При анализе системы производственных отношений необходимо учитывать, что субъекты отношений могут быть разного органического строения - один человеческий индивид, объединение индивидов, объединение объединений, вплоть до общества в целом.

Можно предположить, что становой хребет особенной частной цивилизации характеризуется наличием неотчуждаемого права на жизнь у определенного числа субъектов разного органического строения в цепочке от человеческого индивида до общества в целом.

(Продолжение следует)
Перейти в начало страницы
 
+Цитировать сообщение
Евсеев Борис
сообщение 10.9.2010, 2:15
Сообщение #11


Активный участник
***

Группа: Пользователи
Сообщений: 80
Регистрация: 28.1.2009
Пользователь №: 1417



Уважаемые коллеги, наконец, научился вставлять рисунки в сообщения. Все ссылки на рисунки в предыдущих сообщениях заменены самими рисунками.

С уважением Евсеев Борис.
Перейти в начало страницы
 
+Цитировать сообщение
Потапенко Владис...
сообщение 29.3.2011, 14:54
Сообщение #12


Активный участник
***

Группа: Пользователи
Сообщений: 242
Регистрация: 26.3.2011
Из: СССР (сегодня СНГ) - РСФСР (сегодня Российская Федерация) - Город Горький (сегодня Нижний Новгород)
Пользователь №: 3591



И так, вы тут много написали и должен отметить, что довольно интересно…

Но я не согласен с фразой (это пока первоё что бросилось в глаза, для того чтобы отметить другие недостатки или наоборот достоинства надо ещё пару раз вдумчиво прочитать ваш текст)
Цитата
Ничего, кроме РАБОВЛАДЕНИЯ, опираясь на принцип «КТО НЕ РАБОТАЕТ, ТОТ НЕ ЕСТ» построить нельзя!


На мой взгляд, принцип наоборот правильный даже когда за людей всё будут делать роботы (а я сомневаюсь что такое вообще возможно) людям всё ровно нужно будет что то делать заниматься, например творческой деятельностью – писать картины, сочинять музыку или создавать новые всё более совершенные машины – всё это тоже РАБОТА, а если человек не работает, не приносит не какой пользы обществу но при этом ест не меньше (а в случи с буржуазией и больше) чем остальные то такой человек ПАРАЗИТ (причём так его обозвать будет в полнее по научному загляните в учебник по биологии и вы увидите, что жизнедеятельность такого человека очень похожа на жизнь природных паразитов).


--------------------
☭Пролетарии всех стран, соединяйтесь!☭
Перейти в начало страницы
 
+Цитировать сообщение
Merlin
сообщение 31.3.2011, 5:27
Сообщение #13


Участник
**

Группа: Пользователи
Сообщений: 37
Регистрация: 15.3.2011
Пользователь №: 3211



"Видите ли, бамбино..."©
Вообще-то "вы можете определять капитал" как вашей душеньке угодно, но немного раньше вас некоторые нехорошие люди уже этот термин нагло присвоили и начали юзать в своих сугубо корыстных целях, и почему-то в народе прижилась именна та, "доевсеевская" формулировка.
Вам бы все-таки почитать бы что-нибудь из классики политэкономии... "Незнайку на Луне" например.
Перейти в начало страницы
 
+Цитировать сообщение
ckfdf_nhele
сообщение 31.3.2011, 6:39
Сообщение #14


Участник
**

Группа: Пользователи
Сообщений: 48
Регистрация: 7.1.2011
Из: Тверь
Пользователь №: 2402



Цитата(Merlin @ 31.3.2011, 6:27) *
"Видите ли, бамбино..."©
.....
Вам бы все-таки почитать бы что-нибудь из классики политэкономии... "Незнайку на Луне" например.

+1
У товарища подрастают дети, подарил им на прошедший Новый Год 'Незнайку на Луне', перед этим еще раз перечитав. С тех пор привязалось обращение 'братцы'. 'Незнайка...' дейтствительно блестящее введение в политэкономию.

Сообщение отредактировал ckfdf_nhele - 31.3.2011, 6:42
Перейти в начало страницы
 
+Цитировать сообщение
Потапенко Владис...
сообщение 31.3.2011, 12:54
Сообщение #15


Активный участник
***

Группа: Пользователи
Сообщений: 242
Регистрация: 26.3.2011
Из: СССР (сегодня СНГ) - РСФСР (сегодня Российская Федерация) - Город Горький (сегодня Нижний Новгород)
Пользователь №: 3591



Цитата(ckfdf_nhele @ 31.3.2011, 7:39) *
+1
У товарища подрастают дети, подарил им на прошедший Новый Год 'Незнайку на Луне', перед этим еще раз перечитав. С тех пор привязалось обращение 'братцы'. 'Незнайка...' дейтствительно блестящее введение в политэкономию.


Кстати да ”Незнайка на луне” это что-то вроде ”Капитала” для детей!

Сообщение отредактировал Потапенко Владислав - 31.3.2011, 12:54


--------------------
☭Пролетарии всех стран, соединяйтесь!☭
Перейти в начало страницы
 
+Цитировать сообщение
Евсеев Борис
сообщение 3.4.2011, 23:36
Сообщение #16


Активный участник
***

Группа: Пользователи
Сообщений: 80
Регистрация: 28.1.2009
Пользователь №: 1417



Цитата(Потапенко Владислав @ 29.3.2011, 14:54) *

Письмо 6.1.

Уважаемый коллега, Потапенко Владислав, принцип "кто не работает, тот не ест" есть теоретическое выражение рабовладельческого отношения. Додумался до этой формулировки вовсе не я, а Побиск Георгиевич Кузнецов, крупный советский учёный. Его обоснование заключалось в следующем.

Никакого первобытного коммунизма нет, а есть первобытный каннибализм. Раб – это военнопленный. Его либо съедают как кусок мяса размером 300 000 Ккал в среднем, либо используют как говорящее орудие. Содержать раба есть смысл, если затраты на его содержание меньше производимого с его помощью продукта.

Труд и работа две взаимосвязанные, но качественно различные формы деятельности. Работа характеризуется нетворческой стороной деятельности, а труд – творческой стороной деятельности. Работа – это деятельность по изготовлению стандартных предметов в стандартных условиях, а труд – это деятельность по совершенствованию предмета деятельности и самих условий деятельности.

С уважением Евсеев Борис.

Сообщение отредактировал Евсеев Борис - 3.4.2011, 23:42
Перейти в начало страницы
 
+Цитировать сообщение
Сергей Чулок
сообщение 28.3.2012, 22:17
Сообщение #17


Активный участник
***

Группа: Пользователи
Сообщений: 70
Регистрация: 2.2.2008
Пользователь №: 1307



Цитата(Евсеев Борис @ 4.4.2011, 0:36) *

Пост 1. Хотелось бы дополнить все предыдущие посты Бориса Евсеева по данной теме некоторыми размышлениями над теорией прибавочной стоимости в свете до сих пор малоизвестных, но твердо установленных научных фактов, о которых не знали во времена выхода первого тома "Капитала" К. Маркса.
Теория прибавочной стоимости с позиции физики и политэкономии
Настоящая статья является отражением нашей общей позиции с одним из разработчиков концепции «Собственность для всех» Борисом Евсеевым. Но за все неточности несет ответственность автор статьи.
Когда мы говорим о необходимости возрождения социализма, заявке на новый проект СССР 2.0., его будущей разработке и реализации, то невольно возникает себе вопрос: а на каких экономических принципах будет строиться вновь возрождаемый социализм? Как мы собираемся обеспечить развитие общества вместо нынешней его деградации? Откуда мы будем брать ресурсы на развитие?
Что станет источником экономического и соответственно общественного развития, включающего физическую (здоровье) и нравственную, культурную, интеллектуальную (рост уровня мышления) составляющие? Наконец, как экономически обеспечить рост населения, а значит, превышение рождаемости над смертностью и рост продолжительности жизни?
Сказать, что таким экономическим источником и мотором роста населения страны и развития общества и личности будет производство, было бы правильно, но совершенно, на наш взгляд, недостаточно. Потому что производство производству рознь. Речь, как мы убеждены, должна идти о производстве с чистым приростом богатства или о производстве ПРИБАВОЧНОГО ПРОДУКТА или ПРИБАВОЧНОЙ СТОИМОСТИ, которая является универсальным выражением прибавочного продукта.
Прибавочный продукт мы определяем как избыток производственного результата в виде востребованной в обществе продукции над стопроцентным простым воспроизводством ВСЕХ материальных факторов производственного процесса. Мы его считаем ОСНОВОЙ ОСНОВ экономического и всякого другого общественного развития в любых его формах и при любом общественно-экономическом устройстве. Не могут быть исключением и неэксплуататорские общества - социализм и коммунизм. Более того, мы полагаем, что для них это еще важнее.
Другого, чем прибавочный продукт ничего не придумано, да и придумать невозможно по одной фундаментальной причине: все процессы в природе и обществе делятся на процессы роста и процессы распада. И общая их направленность, а именно - развитие, деградация, стагнация (застой) зависит от соотношения скоростей распада и роста.
Если скорость роста больше скорости распада, мы имеем в итоге рост и развитие живых, в том числе общественных организмов в виде популяций и их высших форм - человеческих сообществ вплоть до человечества в целом. Если скорость распада больше скорости роста, то мы имеем биологическую, а также личностную и общественную деградацию и вымирание.
Когда же скорости роста и распада равны (простое воспроизводство), то перед нами стагнация или застой. Это грубая схема, наверно, есть нюансы, но в главном она, думается, верна. Соответственно прибавочный продукт может производиться тогда, когда скорость роста больше скорости распада (разрушения, износа материальных субстанций, включая биологическую основу человека).
Данное нами определение внешне несколько отличается от марксова определения прибавочной стоимости формулировкой базы отсчета. У Маркса речь идет о прибавочной стоимости либо как избытке над первоначальной стоимостью авансированного капитала (авансированной капитальной стоимостью), либо над стоимостью элементов, потребленных (производительно) в процессе образования продукта. («Капитал» т.1, стр. 161 и 220 соответственно). Что, впрочем, одно и то же.
Это различие между нашей формулировкой и формулировкой К. Маркса, с нашей точки зрения, - не принципиально. Если избытка над первоначальной стоимостью вложенных в производство факторов капитала нет, то мы все равно имеем случай простого воспроизводства пусть даже на протяжении только одного рассматриваемого производственного периода или цикла.
Но в любом случае, имеем ли мы простое или расширенное воспроизводство с получением помимо необходимого еще и прибавочного продукта (прибавочной стоимости), результат, как мы считаем и намерены доказать, диктуется отнюдь не наличием или отсутствием эксплуатации между участниками производственного процесса.
Эксплуатация, конечно, тоже влияет на величину и темпы роста прибавочного продукта, но далеко не в первую очередь и не прямо, а на обратной связи, когда на ее почве возникают конфликты, волнения, перерывы в работе предприятия. Даже простое недовольство работников способно резко снизить результаты деятельности предприятия хотя бы вследствие возникновения отрицательной внутренней мотивации в рабочем коллективе.
Но результат главным образом зависит от степени совершенства организации и технологии производства и квалификации производственного персонала, то есть от степени развития производительных сил. Мы недаром упомянули человеческий фактор, потому что производительные силы, а об этом часто почему-то забывают, обязательно включают этот активный созидательный фактор.
На наш взгляд, такому подходу резко противоречит определение понятия прибавочной стоимости, данное, например, в Большой советской энциклопедии (БСЭ), многократно воспроизведенное в разных вариантах: - «Прибавочная стоимость - стоимость, создаваемая НЕОПЛАЧЕННЫМ трудом наёмного рабочего сверх стоимости его рабочей силы и безвозмездно присваиваемая капиталистом».
Оно до сих пор глубоко укоренено, как можно судить, среди основной массы российских и украинских марксистов. Хотя почти за полтора века с той поры, как вышел первый том «Капитала» К. Маркса, наука ушла далеко вперед. А метод Маркса, между тем, требует корректировки теории в свете новых научных фактов.
Заметим при этом, что сам Маркс в первом томе «Капитала» таких определений (если говорить только о них), как в БСЭ и в советских учебниках политической экономии или подобного этому, не давал. Он ограничился лишь двумя вышеприведенными дефинициями прибавочной стоимости. Представляется, что определение, изложенное в БСЭ, сформулировано как резюме - итог теории прибавочной стоимости Маркса.
Кстати, в самом термине «прибавочная стоимость» нет ни намека на то, что она является результатом безвозмездного присвоения капиталистом стоимости, созданной неоплаченным трудом рабочего. Безвозмездно присваивать чужое, можно, между прочим, и, не производя прибавочной стоимости.

[/size]
[/size]

Сообщение отредактировал Сергей Чулок - 28.3.2012, 22:43
Перейти в начало страницы
 
+Цитировать сообщение
Сергей Чулок
сообщение 28.3.2012, 22:23
Сообщение #18


Активный участник
***

Группа: Пользователи
Сообщений: 70
Регистрация: 2.2.2008
Пользователь №: 1307



Цитата(Сергей Чулок @ 28.3.2012, 23:17) *


Пост 2. Между тем научная мысль к концу 20 века постепенно, но неуклонно шла и пришла к выводу, что прибавочный продукт есть результат умелого управления таким бесплатным даром природы, как энергия Солнца в разных ее формах. А именно: путем такой организации и применения такой технологии производства, когда полезная (превратимая в работу) мощность производственной системы всегда больше мощности потерь в ней (имеются в виду все производственные потери, а не только тепловые).
Но для этого надо было сначала разобраться в том, что к производственным процессам применим не закон сохранения энергии, а закон на порядок большей размерности и отражающий динамику таких процессов - закон сохранения мощности. Решающие шаги в этом направлении сделал, как мы считаем, доктор физико-математических наук Побиск Кузнецов.
Подытожив и обобщив некоторые результаты научных исследований выдающихся ученых-естественников 18, 19 и 20 века: Ж. Лагранжа, Дж. Максвелла, С. Подолинского, Г. Крона и Р. Бартини, он фактически заново открыл для науки закон сохранения мощности, дав ему предельно общую, универсальную формулировку, до этого отсутствующую где-либо.
Выглядит она очень просто. Согласно этому закону сумма полезной мощности и мощности потерь любого объекта (системы) всегда равна мощности общего потока энергии, направленного (подаваемого) на систему. При этом прибавка получается тогда, когда полезная мощность оказывается больше мощности потерь.
Впервые это было установлено С. Подолинским на примере земледелия, правда, внешне в терминах энергии, а не мощности. Но фактически речь шла о потоках энергии, то есть, о мощности. Такое превышение в производственных процессах исторически достигалось и достигается, в частности, прямой утилизацией части (пока ничтожно малой) потока солнечной энергии с помощью хлорофилла растений, а в наше время - еще и с помощью солнечных батарей.
Это превышение может получаться также при достаточно эффективном использовании вторичных потоков энергии, порожденных Солнцем: ветра и течения рек, морских приливов и отливов и т.д. А еще посредством использования потоков энергии, образующихся при сжигании «энергетических консервов»: угля, нефти и газа, сланцев и торфа и т.п. И, наконец, путем применения атомной энергетики.
Вот что об этом писал П. Кузнецов: - «Как только мы начинаем обсуждать управление потоками энергии, так сразу исчезают все трудности (понимания - С.Ч.) - поток энергии, захватываемый тем или иным устройством, и является «силой природы», поставленной на службу человеку вместо его мускульной силы» (Предисловие к работе С. Подолинского «Труд и его отношение к распределению энергии» - Москва, изд-во «Ноосфера», 1991 г.)
Добавим здесь от себя, что труд рабочих по производству прибавочного продукта, с нашей точки зрения, и не должен оплачиваться, как считают многие последователи К. Маркса. Ибо он является прямым следствием использования потоков даровой солнечной энергии в производственном процессе в той или иной форме.
Рабочий производит прибавочную стоимость даже в течение отрезка времени, за которое можно изготовить хотя бы одну единицу годной продукции. Та уже содержит в себе прибавочную стоимость. И, следовательно, нет нужды делить рабочий день на необходимое и прибавочное время.
Маркс, как можно предположить, во многом вынужден был это делать, потому что не было тогда естественнонаучного объяснения, откуда вообще берется прибавочный продукт. Опираясь на известный к тому времени Марксу закон сохранения энергии, объяснить это было невозможно.
Поскольку законы физики должны подтверждаться экспериментально и вообще на практике, то есть смысл в отношении закона сохранения мощности упомянуть некоторые важные научные факты. Во-первых, как проанализировал и неоднократно указывал П. Кузнецов, теория электромагнитного поля Максвелла, как и общая теория электрических систем Г. Крона, построена фактически на использовании именно закона сохранения мощности.
Во-вторых, закон сохранения мощности очень хорошо демонстрируется на примере трансформаторов в электрических сетях. Для них он выглядит особенно просто и наглядно: E1 . I1 + N1 = E2 .I2 + N2 (1), где E1 и E2 - напряжение на первичной и вторичной обмотке трансформатора, I1 и I2 - ток, протекающий через первичную и вторичную обмотки трансформатора, N1 и N2 - мощность потерь на первичной и вторичной обмотках трансформатора соответственно. Это равенство впервые было введено как раз Г. Кроном.
Поскольку мощностью тепловых потерь в обмотках трансформатора из-за ее незначительности можно пренебречь (и совсем уж ничтожно мала разница между потерями в первой и второй обмотках), то формула закона сохранения мощности для трансформатора упрощается еще больше: E1 . I1 = E2 . I2. Электротехники прекрасно знают это равенство. Но, что любопытно и в то же время печально: для его объяснения они ссылаются на … закон сохранения энергии.
И это несмотря на то, что размерность в этом равенстве - это размерность именно мощности, а вовсе не энергии. При этом вдобавок игнорируется тот факт, что трансформатор в электрических сетях и цепях является технически открытой системой, обменивающейся энергией с внешней средой. Тогда как закон сохранения энергии выполняется лишь для изолированных, замкнутых систем.
Объяснение этому, надо думать, вполне очевидное: закон сохранения мощности до сих пор не зафиксирован и не признан официальной физикой во всем мире, так и не попал в учебники и вообще в систему образования. Вот и вынуждены грамотные, квалифицированные инженеры искать объяснение там, где его найти нельзя.
Закон сохранения мощности столь же просто и доходчиво выглядит и для механического трансформатора - одного из исторически первых устройств для поднятия тяжелых грузов, называемого полиспастом, о котором упомянуто в «Аналитической механике» Ж. Лагранжа. Равенство это во многом аналогично равенству мощностей для обмоток трансформатора электроэнергии: F1 . V1 = F2 . V2 + N (2), где F1 - сила тяжести поднимаемого груза, F2 - сумма силы, прилагаемой к грузу на противоположном конце полиспаста, и силы его тяжести, V1 и V2 - скорости вертикального перемещения этих грузов, N - мощность потерь в полиспасте, которой тоже, как и в трансформаторе, в ряде случаев можно пренебречь.
Для нас здесь важно то, что равенства (1) и (2) многократно подтверждались экспериментально и, судя по всему, никогда не ставились учеными и инженерами под сомнение. А значит, с учетом этих равенств в сочетании с теориями Максвелла и Крона, также множество раз подтвержденными опытом, закон сохранения мощности, на наш взгляд, смело можно считать твердо установленным.


Сообщение отредактировал Сергей Чулок - 28.3.2012, 22:44
Перейти в начало страницы
 
+Цитировать сообщение
Сергей Чулок
сообщение 28.3.2012, 22:28
Сообщение #19


Активный участник
***

Группа: Пользователи
Сообщений: 70
Регистрация: 2.2.2008
Пользователь №: 1307



Цитата(Сергей Чулок @ 28.3.2012, 23:23) *


Пост 3. Если же говорить о политэкономическом аспекте теории - об эксплуатации одних участников совместной деятельности другими, то, как мы полагаем, она осуществляется отнюдь не в самом производственном процессе, а путем РАСПРЕДЕЛЕНИЯ ДОЛЕЙ УЖЕ ПРОИЗВЕДЕННОГО ИЛИ ДАЖЕ РЕАЛИЗОВАННОГО ПРИБАВОЧНОГО ПРОДУКТА.
Вообще распределение чего-либо произведенного, какого-либо конкретного результата - это, надо полагать, СОВСЕМ ИНАЯ функция, чем ПОЛУЧЕНИЕ этого результата. Точно также как выпечка хлеба и его поедание - не только совершенно разные по своей природе, но и разделенные во времени и в пространстве процессы.
Но что может служить первоосновой такой эксплуатации? По нашему убеждению, главным фактором, определяющим возможность массового устойчивого присвоения эксплуататорами не положенной им части прибавочной стоимости, является отсутствие доступа части общества к источникам поддержания человеческой жизни и к условиям ее обеспечения.
Но как бы там ни было, сначала прибавочный продукт должен быть произведен, и только тогда возникает возможность его распределять, отнимать и присваивать. Пока прибавочный продукт не стал массовым устойчивым явлением, об эксплуатации не могло быть и речи. То есть эксплуатация человека человеком - это, с нашей точки зрения, СЛЕДСТВИЕ возможности производить прибавочный продукт, а вовсе НЕ ЕГО ПРИЧИНА.
В частности, рабство вслед за первобытной дикостью, и это тоже неоднократно пояснялось и подчеркивалось П. Кузнецовым, могло появиться лишь тогда, когда (скажем, с развитием земледелия и скотоводства) возникла устойчивая возможность производить прибавочный продукт. В первобытном обществе пленного либо съедали, либо брали в качестве побратима в свое племя, если это могло помочь выживанию племени.
Но с налаживанием производства прибавочного продукта пленного стало просто-напросто выгодно использовать как раба. Ибо он мог прокормить не только себя, но и рабовладельца с семьей, да еще обогащать их, освобождая от забот о выживании и вдобавок обеспечив им свободное время для развития и совершенствования технологий.
Отсюда, смеем утверждать, следует очень важный обратный вывод: отсутствие эксплуатации отнюдь не препятствует возможности получать прибавочный продукт или прибавочную стоимость. Как раз наоборот, именно это обстоятельство ПРИ ПРОЧИХ РАВНЫХ УСЛОВИЯХ СПОСОБСТВУЕТ УСКОРЕНИЮ РОСТА прибавочной стоимости и соответственно роста темпов накопления богатства страны, то есть, подлинного роста ее экономики, а не роста валового продукта.
Если же мы выводим прибавочный продукт (прибавочную стоимость) из отношений эксплуатации, то этим самым не только лишаем себя возможности объяснить возможность его производства при социализме и коммунизме. Мы теряем тем самым истинную цель производства и подлинный критерий экономического роста. И опять рискуем обречь себя на борьбу за дезориентирующие валовые показатели, а не чистый прирост общественного богатства.
Ладно, чувствую, что не убедил. Тогда для несгибаемых сторонников взгляда на прибавочную стоимость, как на часть стоимости, создаваемой неоплаченным трудом рабочего сверх стоимости его рабочей силы и тут же даром присваиваемой капиталистом, поставим вопрос так.
Допустим, есть два однотипных по номенклатуре выпускаемой продукции и применяемой технологии предприятия. Но одно из них частное с единоличным владельцем во главе, а другое - частное народное (самоуправляющееся), где все работники - его совладельцы и управляют им на началах сотрудничества и взаимопомощи.
Возникает вопрос: если в первом случае мы можем, следуя, в том числе трактовке по Марксу или даже по БСЭ, назвать разницу между стоимостью реализации произведенных изделий и затратами на их производство прибавочной стоимостью, то как будет называться та же разница, но на народном предприятии?
Если у народного предприятия это - не прибавочная стоимость, то, что тогда? Ведь избыток стоимости продукции над затратами в народном предприятии тоже полностью соответствует приведенным выше марксовым определениям прибавочной стоимости, хотя и не соответствует определению в духе БСЭ.
Разве процесс распределения произведенного блага (полезности, ценности) НЕ ВТОРИЧЕН по отношению к производственному результату - произведенному благу (а благо - это, в данном случае, прибавочный продукт). Ведь не будь результата, нечего было бы и распределять. Каким бы злостным эксплуататором работников хозяин предприятия не был, если прибавочного продукта либо прибавочной стоимости нет, он перестает им быть.
Нет прибавочной стоимости - нет предмета для эксплуатации. Мы не рассматриваем здесь случай изначально преступного присвоения власть имущими части необходимого для работников продукта. Это уже социальный каннибализм, переходящий в социальный геноцид, ведущий к вымиранию населения, фактическому экономическому уничтожению одной частью общества другой ее части. Это тоже массовое убийство, но только малозаметное, медленное и узаконенное.


Сообщение отредактировал Сергей Чулок - 28.3.2012, 22:45
Перейти в начало страницы
 
+Цитировать сообщение
Сергей Чулок
сообщение 28.3.2012, 22:31
Сообщение #20


Активный участник
***

Группа: Пользователи
Сообщений: 70
Регистрация: 2.2.2008
Пользователь №: 1307



Цитата(Сергей Чулок @ 28.3.2012, 23:28) *


Пост 4. К. Маркс попытался представить генезис прибавочной стоимости, как результат перераспределения стоимости производимой продукции в пользу буржуазного эксплуататора непосредственно в процессе ее производства. Но для этого ему, в частности, пришлось сделать в то время совершенно новое и очень смелое допущение, которое, однако, спустя сто сорок пять лет, обнаруживает при более тщательном рассмотрении, свою недостаточную, с нашей точки зрения, обоснованность и вызывает множество вопросов.
Допущение состояло, как известно, в том, что рабочая сила или способность к труду стала в буржуазную эпоху товаром. Но чтобы иметь возможность так утверждать, пришлось смириться с тем либо не обратить внимание на то, что у рабочей силы как товара должна обладать в таком случае рядом уникальных характеристик или атрибутов. Они резко выделяют ее среди абсолютно всех остальных товаров, которые этими характеристиками никогда не обладали, не обладают и обладать не будут.
ПЕРВЫЙ, бросающийся в глаза уникальный атрибут рабочей силы, как товара - это то, что она сама является лишь одним из свойств такого целостного объекта (одновременно и субъекта), как человек. И как всякое внутреннее свойство любого объекта, оно от него НЕОТДЕЛИМО В ПРИНЦИПЕ. Естественно, в этом случае возникает трудность продажи свойства ОТДЕЛЬНО ОТ НОСИТЕЛЯ этого свойства.
Для преодоления этой трудности постулируется условие, что рабочая сила продается только на время, а не навсегда. С одной стороны, это, конечно, разумно, ибо продажа рабочей силы навсегда невозможна без продажи ее носителя - самого человеческого индивида. А продажа индивида другому лицу, как не менее хорошо известно, делает его рабом в изначальном, варварском смысле этого слова.
Так вот, продажа на время - это ВТОРОЙ постулируемый уникальный атрибут рабочей силы как товара, никак не вытекающий, кстати, из теории товара и денег, изложенной К. Марксом там же в первом томе «Капитала». Более того, о возможности такой временной продажи товара у Маркса в первой главе «Капитала» нет ни слова, что совершенно правомерно.
Ведь продажа товара является еще и актом перехода права собственности на этот товар от одного лица к другому. И время, на которое приобретается такое право, абсолютно не имеет и не должно иметь никакого значения. Это может быть один час, а может быть и вся жизнь. До тех пор пока новый собственник товара не продаст или не подарит кому-нибудь свою покупку, он будет ее владельцем. Это его исключительное право и сугубо личное дело.
Кроме того, престранно было бы видеть продавца товара с объявлением, что он продает его на такой-то срок с исключительным правом выкупа этого товара именно у данного покупателя (работодателя). Однако для рабочей силы как товара такая «эксклюзивная» временная продажа или продажа на срок в «Капитале», тем не менее, подразумевается. Иначе концы с концами не сошлись бы вообще.
На наш взгляд, это слишком умозрительная, отвлеченная и далекая от реальности схема. Причем, не похоже, что она подтверждена исторической практикой. Во всяком случае, у нас нет сведений о том, что где-либо и когда-либо в реальной практике найма на работу между рабочим и владельцем предприятия было упомянуто, что один продает свою рабочую силу, а другой ее покупает, да еще на заранее оговоренный срок. Тем более что способность к труду - характеристика во многом неопределенная и для предпринимателя она - кот в мешке.
К. Маркс рассматривает при этом теоретически самый низкий порог оплаты проданной рабочей силы, равный стоимости средств существования рабочего и его семьи на уровне их простого воспроизводства. Этот нижний порог зарплаты рабочего он называет стоимостью рабочей силы.
Однако при этом упускается из виду следующее обстоятельство: чем больше период использования, а значит, и воспроизводства рабочей силы, тем ровно во столько же крат больше она стоит. Но стоимость товара как такового не может автоматически расти со временем, да еще в прямой пропорции к его длительности.
Прошел месяц - рабочая сила стоит, скажем, 30 000 рублей, прошла два месяца - она стоит в два раза дороже и так до бесконечности. Маркс, например, писал о дневной стоимости рабочей силы. Но у товара, даже столь специфического как рабочая сила, не может быть дневная и суточная, часовая и недельная, месячная и годовая стоимость. А если такое имеет место, значит, это - НЕ ТОВАР.
Все это, как мы считаем, противоречит теории стоимости самого К. Маркса. У товара, если и измеряется время, влияющее на его стоимость, то это время - затраченное на его изготовление, то есть прошлое, овеществленное в товаре, а не текущее или будущее время. Что недвусмысленно и четко было постулировано Марксом, а до него А. Смитом и Д. Рикардо (трудовая теория стоимости). Хотя и трудовая теория стоимости, будучи, по своей сути, затратной, тоже представляется спорной. Но это другой вопрос.
Проблема также заключается в принципиально неустранимом несовпадении размерности стоимости любого другого товара и такого гипотетического товара как рабочая сила. В размерность стоимости буквально всех товаров входят только денежные единицы (рубли и доллары, евро и фунты, юани и йены и т.д.), тогда как никаких единиц времени в ней нет. Однако в размерность стоимости рабочей силы единица времени входит (не может не входить!) в качестве знаменателя (денежная единица, деленная на единицу времени).
Но в таком случае стоимость рабочей силы становится НЕСОИЗМЕРИМОЙ со стоимостью любого другого товара, точно также как путь, проделанный авто, невозможно соизмерить со скоростью его движения. А величины разной размерности, даже родственные друг другу, - это величины РАЗНОЙ ПРИРОДЫ, РАЗНОГО СОДЕРЖАНИЯ. Их никак нельзя сравнивать друг с другом.
Почему это до сих пор не бросилось в глаза, загадка. Могу лишь констатировать, что экономисты и сейчас пренебрегают такой «мелочью» как размерность, а во времена Маркса - и подавно. Никому, видимо, это и в голову не приходило. Даже в физике на значение соблюдения размерности великий Дж. К. Максвелл публично впервые обратил внимание коллег только в 1873 году. Что уж тогда требовать с экономистов, а тем более политэкономов?
Интересно, что за стоимостными величинами, «автоматом» зависящими от времени (отнесенными к единице времени), так пока и не закрепилось общее для них и признанное всеми название. Хотя, к примеру, все величины расходов (затрат, издержек) и соответственно доходов - это ПОТОКИ стоимости (а значит, и финансов), растущие при прочих равных условиях со временем и прямо пропорционально времени.
Справедливости ради следует признать, что в современных учебниках «Экономикс» все же указывается на различие между стоимостным потоками и так называемыми запасами (stock) предметов и ресурсов. Другое дело, что там это различие лишь фиксируется там, но продолжения, осмысления и приложения не имеет. Да и реальный экономический смысл термина «запас» неясен. А услуги вообще не могут быть запасом, поскольку они потребляются в момент их производства.


Сообщение отредактировал Сергей Чулок - 28.3.2012, 22:46
Перейти в начало страницы
 
+Цитировать сообщение

2 страниц V   1 2 >
Ответить в данную темуНачать новую тему

 



Текстовая версия Сейчас: 30.10.2025, 22:20